Особенности драйвера:
- Технология самотестирования и автоматической настройки параметров обеспечивает оптимальную реакцию при работе с разными двигателями
- 16 ступеней деления шага, от 1:2 до 1:128, устанавливаемых с помощью DIP переключателей
- Возможность выбора тока удержания (половинный или полный) вала двигателя
- Оптоизолированные входа, высокая помехоустойчивость
- Защита от перенапряжения, низкого питающего напряжения и перегрузки по току
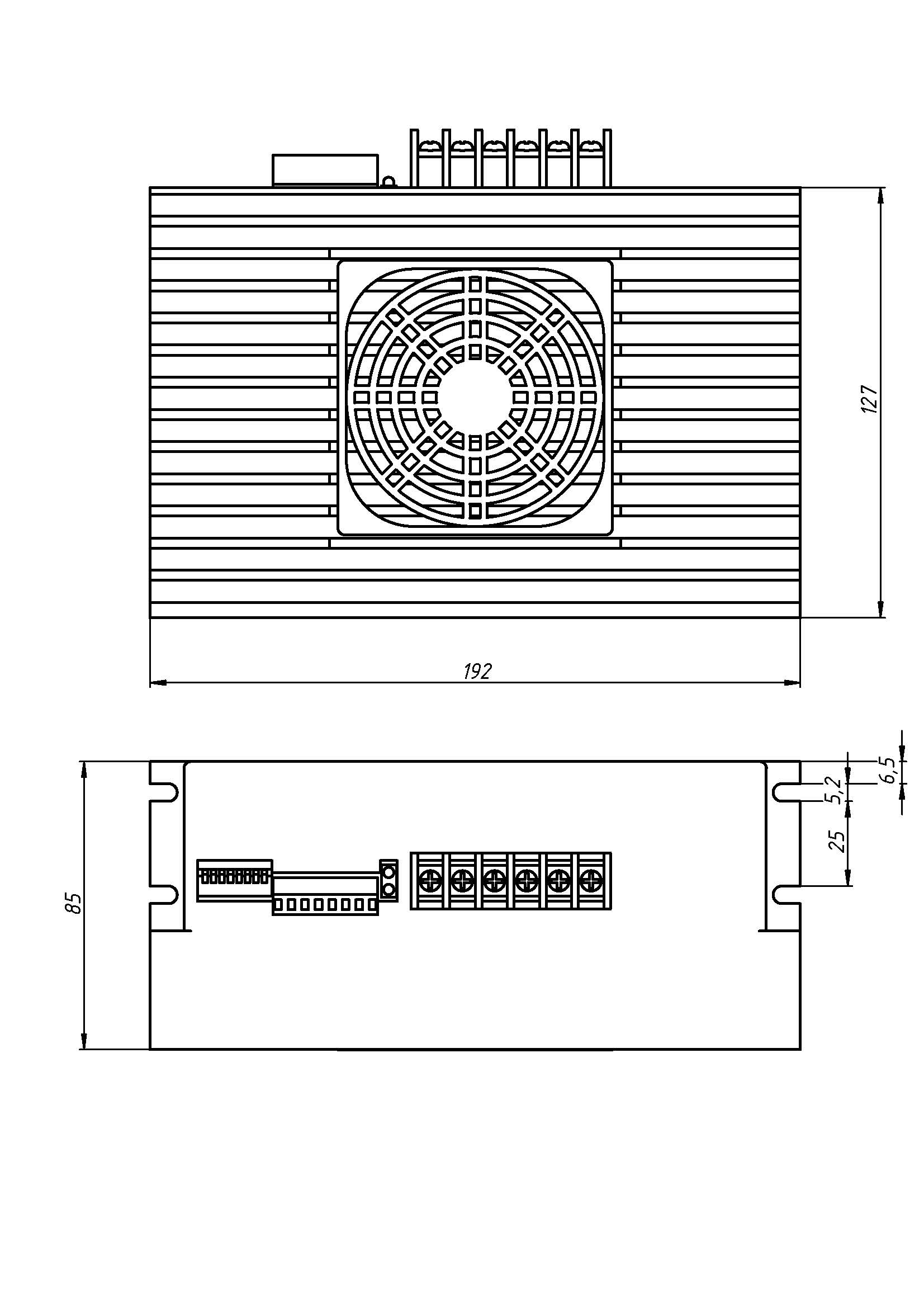
- Размер 192 * 127 * 85 мм
Настройка микрошага
|
PU/Rev |
По умолчанию |
400 |
800 |
1600 |
3200 |
6400 |
12800 |
25600 |
1000 |
2000 |
4000 |
5000 |
8000 |
10000 |
20000 |
25000 |
|
SW8 |
ON |
ON |
ON |
ON |
ON |
ON |
ON |
ON |
OFF |
OFF |
OFF |
OFF |
OFF |
OFF |
OFF |
OFF |
|
SW7 |
ON |
ON |
ON |
ON |
OFF |
OFF |
OFF |
OFF |
ON |
ON |
ON |
ON |
OFF |
OFF |
OFF |
OFF |
|
SW6 |
ON |
ON |
OFF |
OFF |
ON |
ON |
OFF |
OFF |
ON |
ON |
OFF |
OFF |
ON |
ON |
OFF |
OFF |
|
SW5 |
ON |
OFF |
ON |
OFF |
ON |
OFF |
ON |
OFF |
ON |
OFF |
ON |
OFF |
ON |
OFF |
ON |
OFF |
Настройка выходного тока
|
Рабочий , А |
По умолчанию |
2.2 |
3.2 |
4.5 |
5.2 |
6.3 |
7.2 |
8.2 |
|
SW3 |
OFF |
OFF |
OFF |
OFF |
ON |
ON |
ON |
ON |
|
SW2 |
OFF |
OFF |
ON |
ON |
OFF |
OFF |
ON |
ON |
|
SW1 |
OFF |
ON |
OFF |
ON |
OFF |
ON |
OFF |
ON |
SW4:OFF=Половинный ток
ON=Полный ток
Назначение контактов и индикации
|
Символ |
Функция |
Технические характеристики |
|
PWR |
Индикатор питания |
При включении загорается зеленый индикатор. |
|
ALARM |
Индикатор неисправности |
При перегрузке по току, повышенном напряжении и неисправности обмоток двигателя загорается красный индикатор. |
|
DIR- |
Сигнал направления, либо импульсный сигнал |
Предназначен для изменения направления вращения вала двигателя. Требуется: низкий уровень 0 ~ 0,5 В, высокий уровень 4 ~ 5 В, при использовании управляющего напряжения выше 5В, необходимо использовать токоограничивающие резисторы (так же касается сигналов PULSE и ENABLE) |
|
DIR+ |
||
|
PUL- |
Импульсный сигнал |
По приходу импульса привод повернет вал двигателя в направлении, указанном в DIR, и на дискрету, выставленную на DIP переключателе. Требуется: низкий уровень 0 ~ 0,5 В, высокий уровень 4 ~ 5 В, при использовании управляющего напряжения выше 5В, необходимо использовать токоограничивающие резисторы |
|
PUL+ |
||
|
ENA- |
Сигнал разрешения работы |
Сигнал используется для запрета и разрешения работы привода. При подаче сигнала выдается запрет на работу. При отсутствии сигнала работа привода разрешена. |
|
ENA+ |
||
|
ALM+ |
Сигнал ошибки |
Сигнал отображает неисправность в приводе. |
|
ALM- |
||
|
AC |
Электропитание |
VAC 80~240 В |
|
AC |
||
|
+A, -A |
Подключение обмоток двигателя |
|
|
+B, -B |
||
Примечание:
- Источник питания не должно превышать VAС 240В
- Уровень входного управляющего сигнала составляет 5 В, если используется питание выше 5В, то необходимо использовать токоограничивающий резистор.
- При перегрузке по току, повышенном или пониженном напряжении индикатор ALARM мигает, проверьте правильность схемы подключения, поданных напряжений и перезапустите питание.
- Зеленый индикатор PWR загорается, когда привод включен.
Для покупки товара в нашем интернет-магазине выберите понравившийся товар и добавьте его в корзину. Далее перейдите в Корзину и нажмите на «Оформить заказ» или «Быстрый заказ».
Когда оформляете быстрый заказ, напишите ФИО, телефон и e-mail. Вам перезвонит менеджер и уточнит условия заказа. По результатам разговора вам придет подтверждение оформления товара на почту или через СМС. Теперь останется только ждать доставки и радоваться новой покупке.
Оформление заказа в стандартном режиме выглядит следующим образом. Заполняете полностью форму по последовательным этапам: адрес, способ доставки, оплаты, данные о себе. Советуем в комментарии к заказу написать информацию, которая поможет курьеру вас найти. Нажмите кнопку «Оформить заказ».
Оплачивайте покупки удобным способом. В интернет-магазине доступно несколько вариантов оплаты:
- Наличные при самовывозе или доставке курьером. Специалист свяжется с вами в день доставки, чтобы уточнить время и заранее подготовить сдачу с любой купюры. Вы подписываете товаросопроводительные документы, вносите денежные средства, получаете товар и чек.
- Безналичный расчет при самовывозе или оформлении в интернет-магазине: карты Visa, MasterCard и МИР. Чтобы оплатить покупку, система перенаправит вас на сервер платежной системы. Здесь нужно ввести номер карты, срок действия и имя держателя.
- Счет на оплату, который после обработки заказа наш менеджер вышлет Вам на указанный электронный адрес.
Уважаемые клиенты, мы осуществляем доставку ваших заказов по всей территории России.
Мы сотрудничаем со многими транспортными компаниями, но не принуждаем вас работать с ними, если для вас это неудобно. Вы выбираете понравившегося вам перевозчика из списка представленного на нашем сайте, а если в нем нет нужной вам компании, то просто укажите её в комментариях к вашему заказу. И мы отправим ваш заказ именно этой компанией.
Рассчитать стоимость доставки до вашего города можно на официальном сайте выбранной транспортной компании.
Обращаем внимание, что за Товар в процессе его перевозки транспортной компанией ответственность несет Клиент. Все претензии по доставке Клиент предъявляет напрямую исключительно транспортной компании. Срок и место доставки Товара транспортной компанией, выбранной и оплаченной Клиентом, определяется совместно Клиентом и транспортной компанией до даты отгрузки Товара последней Продавцом.
|
Параметры |
Мин |
Номинальный |
Макс |
|
|
Выходной ток, А |
2.2 |
- |
8.2 |
|
|
Напряжение питания, В |
VAC |
80 |
220 |
240 |
|
VDC |
- |
- |
- |
|
|
Деление шага |
1:2 |
- |
1:128 |
|
|
Частота входного сигнала, кГц |
0 |
- |
200 |
|
|
Логический сигнал, мА |
- |
- |
16 |
|
|
Наличие выхода аварийного сигнала |
Да |
|||
|
Наличие порта для связи |
Нет |
|||
|
Поддержка сигналов управления |
PUL/DIR |
Да |
||
|
CW/CCW |
Нет |
|||
